Республика Беларусь,
г. Минск, ул. Селицкого 21к - центральный склад
Пн-пт с 8:00 до 17:00
Меню
50-3103018 Шайба
Наименование: Шайба 50-3103018
Каталожный номер: 50-3103018
Производитель: RSTA
Код товара: 00-ГР014116
Доставка: по всей Беларуси
Остаток: под заказ

Нашли не точность в описании товара? сообщить администратору.

+375 (44) 770-80-78 +375 (29) 747-80-78
* Выставить счет, получить техническую информацию и стоимость
Заказать деталь Онлайн
Описание
Наличие на филиалах
Применяемость
Заменить на СТО

Шайба 50-3103018 производства RSTA (РФ), Код для заказа: 00-ГР014116

Марка Модель Кат.номер Наим. по каталогу Чертеж
ЛАЗ ЛАЗ 695Б 120-3103018 Гайка переднего колеса правая Держатель запасного колеса
ЛАЗ ЛАЗ 695Н (1976) 120-3103018 Гайка переднего колеса правая Тормозной барабан, тормоза и ступица переднего колеса Чертеж Тормозной барабан, тормоза и ступица переднего колеса
ЛАЗ ЛАЗ 695Н (1976) 120-3103018 Гайка переднего колеса правая Тормозной барабан, тормоза и ступица переднего колеса Чертеж Тормозной барабан, тормоза и ступица переднего колеса
ЛАЗ ЛАЗ 699Р 120-3103018 Гайка переднего колеса правая Колеса и ступицы передние
Камский автозавод 6460 6520-3103018 Манжета Ступица переднего колеса Чертеж Ступица переднего колеса
Камский автозавод 6520 6520-3103018 Манжета Ступица переднего колеса Чертеж Ступица переднего колеса
Камский автозавод 4308 (2004) 4308-3103018 Манжета в сборе Ступица колеса с диском тормоза, подшипником и манжетой в сборе 4308-3103009 Чертеж Ступица колеса с диском тормоза, подшипником и манжетой в сборе 4308-3103009
Камский автозавод 4308 (2004) 6520-3103018 Манжета Ступица заднего колеса с диском тормоза, подшипником и манжетами в сборе 4308-3104009-32 Чертеж Ступица заднего колеса с диском тормоза, подшипником и манжетами в сборе 4308-3104009-32
ЗИЛ ЗИЛ-431410 Каталог 1989 г. (1989) 120-3103018 Гайка Установка колеса запасного Чертеж Установка колеса запасного
ЗИЛ ЗИЛ-431410 Каталог 1989 г. (1989) 120-3103018 Гайка Тормоза и ступицы колеса переднего Чертеж Тормоза и ступицы колеса переднего
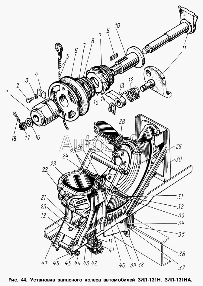
ЗИЛ ЗИЛ-131 120-3103018 Гайка Установка запасного колеса автомобилей ЗИЛ-131н, ЗИЛ-131НА Чертеж Установка запасного колеса автомобилей ЗИЛ-131н, ЗИЛ-131НА
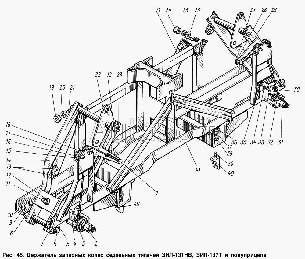
ЗИЛ ЗИЛ-131 120-3103018 Гайка Держатель запасных колес седельных тягачей ЗИЛ-131НВ, ЗИЛ-137Т и полуприцепа Чертеж Держатель запасных колес седельных тягачей ЗИЛ-131НВ, ЗИЛ-137Т и полуприцепа
ЗИЛ ЗИЛ-131 120-3103018 Гайка Тормозной барабан, тормоза и ступицы передних и задних колес Чертеж Тормозной барабан, тормоза и ступицы передних и задних колес
ЗИЛ ЗИЛ-133ГЯ 120-3103018 Гайка Установка запасного колеса
ЗИЛ ЗИЛ-133ГЯ 120-3103018 Гайка Тормоза и ступицы передних и задних колес
ЗИЛ ЗИЛ-5301 (2000) 5301-3103018 Болт крепления колеса Тормозной механизм и ступица переднего колеса Чертеж Тормозной механизм и ступица переднего колеса
ЗИЛ ЗИЛ-3250 (2000) 5301-3103018 Болт крепления колеса Тормозной механизм и ступица переднего колеса
КАЗ КАЗ 608 120-3103018 Гайка крепления переднего колеса (правая резьба) Тормозной барабан, тормоза и ступица переднего колеса
МЗКМ КО-713 М20-120-3103018 Гайка Крепление запасного колеса
МЗКТ МЗКТ-79092 (2005) 547А-3103018 Горловина ступицы Ступицы с горловиной
Товары из этой категории
Болт задней ступицы 50-3104028
Болт задней ступицы
Каталожный номер 50-3104028
Производитель RSTA RSTA
Код 32858
Доставка по всей Беларуси
Доступность остатки на филиалах Остатки на филиалах
Остаток: г.Минск, ул.Селицкого 21к В наличии
Склад Адрес Контакт Остатки
г. Минск ул. Селицкого, 21к +375 (44) 770-80-78 ( Много )
Схема проезда
г. Дрогичин ул. Юбилейная, 42 +375 (29) 682-17-13 ( Средне )
Схема проезда
г. Осиповичи ул. Короткая, 11 +375 (29) 165-60-07 ( Много )
Схема проезда
г. Ошмяны ул. Льнозоводская 3 +375 (44) 770-80-91 ( Много )
Схема проезда
г. Слоним ул. Советская, 93а +375 (29) 394-82-01 ( Много )
Схема проезда
г. Щучин ул. Советская, 39 +375 (29) 177-29-70 ( Средне )
Схема проезда
Обод DW15Lх38-3107020 DW15Lх38-3107020
Обод DW15Lх38-3107020
Каталожный номер DW15Lх38-3107020
Производитель БЗТДиА БЗТДиА
Код 46698
Доставка по всей Беларуси
Доступность остатки на филиалах Остатки на филиалах
Остаток: г.Минск, ул.Селицкого 21к В наличии
Склад Адрес Контакт Остатки
г. Минск ул. Селицкого, 21к +375 (44) 770-80-78 ( Средне )
Схема проезда
г. Дрогичин ул. Юбилейная, 42 +375 (29) 682-17-13 ( Мало )
Схема проезда
Обод 9*20-3101020А-01 5 шпилек 9*20-3101020А-01
Обод 9*20-3101020А-01 5 шпилек
Каталожный номер 9*20-3101020А-01
Производитель БЗТДиА БЗТДиА
Код 14772
Доставка по всей Беларуси
Доступность остатки на филиалах Остатки на филиалах
Остаток Под заказ
Колесо дисковое МТЗ DW16Lх34-3107020
Колесо дисковое МТЗ
Каталожный номер DW16Lх34-3107020
Производитель БЗТДиА БЗТДиА
Код 22388
Доставка по всей Беларуси
Доступность остатки на филиалах Остатки на филиалах
Остаток: г.Минск, ул.Селицкого 21к В наличии
Склад Адрес Контакт Остатки
г. Минск ул. Селицкого, 21к +375 (44) 770-80-78 ( Средне )
Схема проезда
Ступица задняя, РФ 50-3104010 А
Ступица задняя, РФ
Каталожный номер 50-3104010 А
Производитель RCZP LTD RCZP LTD
Код 44185
Доставка по всей Беларуси
Доступность остатки на филиалах Остатки на филиалах
Остаток Под заказ