Республика Беларусь,
г. Минск, ул. Селицкого 21к - центральный склад
Пн-пт с 8:00 до 17:00
Меню
050-056-36 Кольцо
Наименование: Кольцо 050-056-36
Каталожный номер: 050-056-36
Код товара: 00-ГР015944
Доставка: по всей Беларуси
Остаток: под заказ

Нашли не точность в описании товара? сообщить администратору.

+375 (44) 770-80-78 +375 (29) 747-80-78
* Выставить счет, получить техническую информацию и стоимость
Заказать деталь Онлайн
Описание
Наличие на филиалах
Применяемость
Заменить на СТО

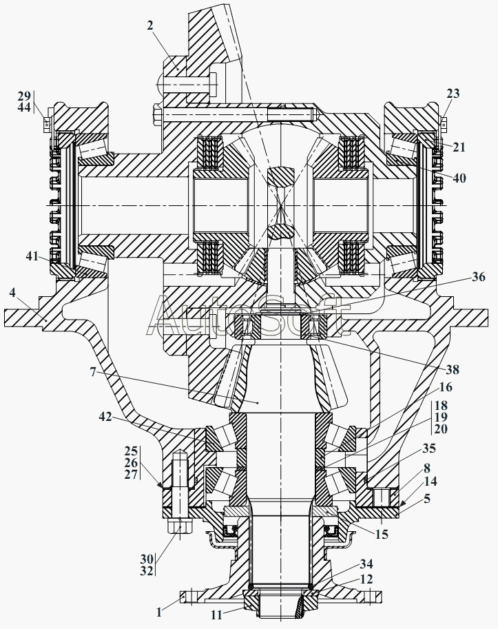
Кольцо 050-056-36 производства (), Код для заказа: 00-ГР015944

Марка Модель Кат.номер Наим. по каталогу Чертеж
МЗКТ МЗКТ-79092 (2005) 0000-3416771 Кольцо 050-056-36-2-2 Распределитель Чертеж Распределитель
МЗКТ МЗКТ-7930-200 (2005) 0000-3416771 Кольцо 050-056-36-2-2 Распределитель 7922-3416010-01
МЗКТ МЗКТ-7429 (2005) 0000-3416771 Кольцо 050-056-36-2-2 Распределитель Чертеж Распределитель
МЗКТ МЗКТ-74296 (2010) 0000-3416771 Кольцо 050-056-36-2-2 Распределитель 742952-3416010 Чертеж Распределитель 742952-3416010
МЗКТ МЗКТ-74296 (2010) 0000-3416771 Кольцо 050-056-36-2-2 Клапан включения 74295-3537120
ПТЗ К-744Р2 050-056-36-1-3 Кольцо Схема гидравлической системы управления поворотом 703MA-3400000
ТВЭКС ВП-03 (2005) 9833.050-056-36-2-3 Кольцо 080-50-02.04.000 Гидроцилиндр Чертеж 080-50-02.04.000 Гидроцилиндр
Амкодор Амкодор-352 (2006) У35.615-01.056 Кольцо Вал турбинный У35.615-01.050-01 Чертеж Вал турбинный У35.615-01.050-01
Амкодор Амкодор-332С-01 (2006) У35.615-01.056 Кольцо Вал турбинный У35.615-01.050 Чертеж Вал турбинный У35.615-01.050
Амкодор Амкодор-342В (ТО-18А) (2006) У35.615-01.056 Кольцо Вал турбинный У35.615-01.050 Чертеж Вал турбинный У35.615-01.050
Амкодор Амкодор-342С (2006) У35.615-01.056 Кольцо Вал турбинный У35.615-01.050 Чертеж Вал турбинный У35.615-01.050
Амкодор Амкодор-333А (ТО-18Б2) (2006) У35.615-01.056 Кольцо Вал турбинный У35.615-01.050 Чертеж Вал турбинный У35.615-01.050
Амкодор Амкодор-325 (ТО-18К) (2006) У35.615-01.056 Кольцо Вал турбинный У35.615-01.050 Чертеж Вал турбинный У35.615-01.050
Амкодор Амкодор-351 (2006) У35.615-01.056 Кольцо У35.615-01.050-01 Вал турбинный Чертеж У35.615-01.050-01 Вал турбинный
Амкодор Амкодор-352C (2006) У35.615-01.056 Кольцо У35.615-01.050-01 Вал турбинный Чертеж У35.615-01.050-01 Вал турбинный
Амкодор Амкодор-332B, 332B4 (2008) У35615-01.056 Кольцо Вал турбинный У35615-01.050 Чертеж Вал турбинный У35615-01.050
Амкодор Амкодор-342В, 342С4, 342Р (2008) У35615-01.056 Кольцо Вал турбинный У35615-01.050
Амкодор Амкодор-342В, 342С4, 342Р (2010) 048-056-46-2-2 Кольцо Главная передача 342.05.01.050-А Чертеж Главная передача 342.05.01.050-А
Амкодор Амкодор-333В, 332С (2008) У35615-01.056 Кольцо Вал турбинный У35615-01.050 Чертеж Вал турбинный У35615-01.050
МАЗ МАЗ-74131 (1996) 0000-3416771 Кольцо 050-056-36-2-2 Распределитель рулевого управления Чертеж Распределитель рулевого управления
Товары из этой категории
Кольцо 1Б75 400468 400468
Кольцо 1Б75 400468
Каталожный номер 400468
Производитель МАЗ МАЗ
Код 5049
Доставка по всей Беларуси
Доступность остатки на филиалах Остатки на филиалах
Остаток: г.Минск, ул.Селицкого 21к В наличии
Склад Адрес Контакт Остатки
г. Минск ул. Селицкого, 21к +375 (44) 770-80-78 ( Много )
Схема проезда
г. Борисов ул. Демина, 2а +375 (44) 560-99-75 ( Много )
Схема проезда
г. Брест Тельминский с/с, 1Д/1, 1 км южнее д. Тельмы-2 +375 (44) 599-90-75 ( Много )
Схема проезда
г. Гродно ул. Карского, 35 +375 (44) 770-70-21 ( Много )
Схема проезда
г. Дрогичин ул. Юбилейная, 42 +375 (29) 682-17-13 ( Средне )
Схема проезда
г. Несвиж ул. Кутузова, 2 +375 (29) 394-82-48 ( Средне )
Схема проезда
г. Осиповичи ул. Короткая, 11 +375 (29) 165-60-07 ( Мало )
Схема проезда
г. Петриков ул. Первомайская, 124 +375 (33) 660-06-75 ( Средне )
Схема проезда
г. Пинск ул. Калиновского 32 +375 (44) 560-99-59 ( Много )
Схема проезда
г. Полоцк-2 ул. Шенягина, 52 +375 (29) 302-94-73 ( Средне )
Схема проезда
г. Полоцк-2 ул. Шенягина, 52 +375 (29) 302-94-73 ( Много )
Схема проезда
г. Слуцк ул. Тутаринова, 8 +375 (29) 346-06-90 ( Средне )
Схема проезда
г. Щучин ул. Советская, 39 +375 (29) 177-29-70 ( Средне )
Схема проезда
Кольцо 5336-3104140 (250-260-58-2-2) БСИ 5336-3104140
Кольцо 5336-3104140 (250-260-58-2-2) БСИ
Каталожный номер 5336-3104140
Производитель БСИ БСИ
Код 00-ГР037660
Доставка по всей Беларуси
Доступность остатки на филиалах Остатки на филиалах
Остаток: г.Минск, ул.Селицкого 21к В наличии
Склад Адрес Контакт Остатки
г. Минск ул. Бабушкина, 37 +375 (29) 632-00-82 ( Средне )
Схема проезда
г. Минск ул. Селицкого, 21к +375 (44) 770-80-78 ( Много )
Схема проезда
г. Барановичи ул. Пролетарская, 40 +375 (29) 795-96-37 ( Много )
Схема проезда
г. Берёза ул. Красноармейская, 89/11 +375 (29) 676-70-71 ( Мало )
Схема проезда
г. Бобруйск ул. Гоголя, 181/1-6 +375 (29) 630-05-01 ( Много )
Схема проезда
г. Витебск ул. Правды, 33 +375 (44) 770-80-87 ( Много )
Схема проезда
г. Жлобин ул. Козлова, 25 +375 (29) 346-06-78 ( Средне )
Схема проезда
г. Кричев ул. Комсомольская, 126 +375 (29) 628-88-42 ( Мало )
Схема проезда
г. Петриков ул. Первомайская, 124 +375 (33) 660-06-75 ( Много )
Схема проезда
г. Полоцк-2 ул. Шенягина, 52 +375 (29) 302-94-73 ( Мало )
Схема проезда
г. Щучин ул. Советская, 39 +375 (29) 177-29-70 ( Много )
Схема проезда
Кольцо уплотнительное 038-042-25-2-3
Кольцо уплотнительное
Каталожный номер 038-042-25-2-3
Производитель БРТ БРТ
Код 59946
Доставка по всей Беларуси
Доступность остатки на филиалах Остатки на филиалах
Остаток Под заказ
Кольцо 032-040-46-2-2 032-040-46-2-2
Кольцо 032-040-46-2-2
Каталожный номер 032-040-46-2-2
Производитель Беларусьрезинотехника Беларусьрезинотехника
Код 7307
Доставка по всей Беларуси
Доступность остатки на филиалах Остатки на филиалах
Остаток: г.Минск, ул.Селицкого 21к В наличии
Склад Адрес Контакт Остатки
г. Минск ул. Селицкого, 21к +375 (44) 770-80-78 ( Много )
Схема проезда
г. Бобруйск ул. Орловского, 22к3 +375 (29) 345-37-07 ( Много )
Схема проезда
г. Брест Тельминский с/с, 1Д/1, 1 км южнее д. Тельмы-2 +375 (44) 599-90-75 ( Много )
Схема проезда
г. Гомель ул. Барыкина, 291Б +375 (44) 514-15-30 ( Много )
Схема проезда
г. Горки ул.Мира, д.51а/1 +375 (44) 565-33-61 ( Средне )
Схема проезда
г. Дрогичин ул. Юбилейная, 42 +375 (29) 682-17-13 ( Средне )
Схема проезда
г. Осиповичи ул. Короткая, 11 +375 (29) 165-60-07 ( Средне )
Схема проезда
г. Пинск ул. Калиновского 32 +375 (44) 560-99-59 ( Много )
Схема проезда
г. Сморгонь ул. Железнодорожная, 32 +375 (29) 671-02-10 ( Много )
Схема проезда
Кольцо уплотнительное 250-260-58-2-2
Кольцо уплотнительное
Каталожный номер 250-260-58-2-2
Производитель БРТ БРТ
Код 997
Доставка по всей Беларуси
Доступность остатки на филиалах Остатки на филиалах
Остаток В наличии
Склад Адрес Контакт Остатки
г. Минск ул. Бабушкина, 37 +375 (29) 632-00-82 ( Средне )
Схема проезда
г. Барановичи ул. Бадака, 27Б +375 (29) 350-33-47 ( Много )
Схема проезда
г. Березино ул. Комсомольская, д. 24 +375 (44) 770-80-17 ( Мало )
Схема проезда
г. Бобруйск ул. Орловского, 22к3 +375 (29) 345-37-07 ( Много )
Схема проезда
г. Борисов ул. Демина, 2а +375 (44) 560-99-75 ( Много )
Схема проезда
г. Брест Тельминский с/с, 1Д/1, 1 км южнее д. Тельмы-2 +375 (44) 599-90-75 ( Мало )
Схема проезда
г. Витебск ул. Правды, 33 +375 (44) 770-80-87 ( Много )
Схема проезда
г. Глубокое ул. Энгельса, 22 +375 (44) 505-71-40 ( Много )
Схема проезда
г. Гомель ул. Барыкина, 291Б +375 (44) 514-15-30 ( Средне )
Схема проезда
г. Горки ул.Мира, д.51а/1 +375 (44) 565-33-61 ( Много )
Схема проезда
г. Гродно ул. Карского, 35 +375 (44) 770-70-21 ( Много )
Схема проезда
г. Дрогичин ул. Юбилейная, 42 +375 (29) 682-17-13 ( Много )
Схема проезда
г. Дятлово ул. Советская ,104 +375 (29) 187-87-37 ( Средне )
Схема проезда
г. Житковичи ул. Комсомольская, 49 +375 (29) 394-82-52 ( Средне )
Схема проезда
г. Жлобин ул. Козлова, 25 +375 (29) 346-06-78 ( Средне )
Схема проезда
г. Ивацевичи ул. Загородная, 6А +375 (29) 188-59-01 ( Много )
Схема проезда
г. Кричев ул. Комсомольская, 126 +375 (29) 628-88-42 ( Много )
Схема проезда
г. Лельчицы ул. Советская, д.96/1 +375 (29) 346-98-96 ( Много )
Схема проезда
г. Лепель ул. Лобанка, 43 +375 (44) 778-65-21 ( Средне )
Схема проезда
г. Лунинец ул.Красная, 175а +375 (44) 721-46-74 ( Много )
Схема проезда
г. Мозырь промузел Козенки +375 (44) 731-94-60 ( Много )
Схема проезда
г. Молодечно ул. Галицкого, 14 +375 (44) 567-28-47 ( Много )
Схема проезда
г. Несвиж ул. Кутузова, 2 +375 (29) 394-82-48 ( Средне )
Схема проезда
г. Новогрудок ул. Индустриальная, 3 +375 (44) 729-39-19 ( Много )
Схема проезда
г. Орша ул. Сергея Кирова, д. 34 +375 (44) 583-91-42 ( Средне )
Схема проезда
г. Осиповичи ул. Короткая, 11 +375 (29) 165-60-07 ( Много )
Схема проезда
г. Ошмяны ул. Льнозоводская 3 +375 (44) 770-80-91 ( Средне )
Схема проезда
г. Петриков ул. Первомайская, 124 +375 (33) 660-06-75 ( Много )
Схема проезда
г. Полоцк-2 ул. Шенягина, 52 +375 (29) 302-94-73 ( Средне )
Схема проезда
г. Слоним ул. Советская, 93а +375 (29) 394-82-01 ( Средне )
Схема проезда
г. Сморгонь ул. Железнодорожная, 32 +375 (29) 671-02-10 ( Средне )
Схема проезда
г. Солигорск Чижевичский сельсовет, 3Г +375 (29) 899-58-52 ( Средне )
Схема проезда
г. Столин ул. Быковского, 29 +375 (33) 304-54-36 ( Много )
Схема проезда