Республика Беларусь,
г. Минск, ул. Селицкого 21к - центральный склад
Пн-пт с 8:00 до 17:00
Меню
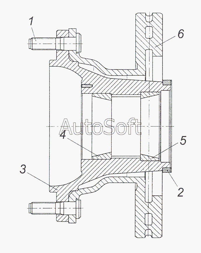
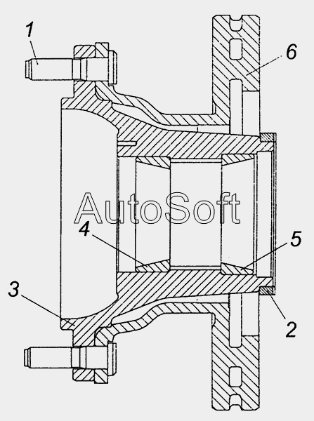
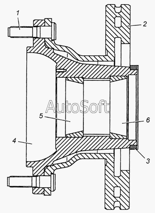
4308-3103071 Болт ступицы колеса
Наименование: Болт 4308-3103071 ступицы колеса
Каталожный номер: 4308-3103071
Производитель: КАМАЗ
Код товара: 00-ГР035677
Доставка: по всей Беларуси
Остаток: под заказ

Нашли не точность в описании товара? сообщить администратору.

+375 (44) 770-80-78 +375 (29) 747-80-78
* Выставить счет, получить техническую информацию и стоимость
Заказать деталь Онлайн
Описание
Наличие на филиалах
Применяемость
Заменить на СТО

Болт 4308-3103071 ступицы колеса производства КАМАЗ (РФ), Код для заказа: 00-ГР035677

Марка Модель Кат.номер Наим. по каталогу Чертеж
Камский автозавод 4308 (2004) 4308-3103071 Болт Ступица колеса с диском тормоза в сборе 4308-3103010 Чертеж Ступица колеса с диском тормоза в сборе 4308-3103010
Камский автозавод 4308 (2008) 4308-3103071 Болт 4308-3103010 Ступица колеса с диском тормоза Чертеж 4308-3103010 Ступица колеса с диском тормоза
Камский автозавод 5308 (Евро 4) (2013) 4308-3103071-50 Болт 4308-3103010-54 Ступица переднего колеса с диском тормоза Чертеж 4308-3103010-54 Ступица переднего колеса с диском тормоза
Камский автозавод 5308 (Евро 3) (2012) 4308-3103071-50 Болт 4308-3103010-52 Ступица переднего колеса с диском тормоза Чертеж 4308-3103010-52 Ступица переднего колеса с диском тормоза
Камский автозавод 4308 (Евро 4) (2012) 4308-3103071 Болт 4308-3103010 Ступица колеса с диском тормоза Чертеж 4308-3103010 Ступица колеса с диском тормоза
Камский автозавод 4308 (Евро 3) (2013) 4308-3103071 Болт 4308-3103010 Ступица колеса с диском тормоза Чертеж 4308-3103010 Ступица колеса с диском тормоза
Камский автозавод 4308-C4 (2019) 4308-3103071-50 Болт 4308-3103010 Ступица колеса Чертеж  4308-3103010 Ступица колеса
Камский автозавод 4308-C4 (2019) 4308-3103071-50 Болт 4308-3103010-03 Ступица колеса Чертеж  4308-3103010-03 Ступица колеса
Камский автозавод 4308-C4 (2019) 4308-3103071-50 Болт 4308-3103010-04 Ступица колеса Чертеж  4308-3103010-04 Ступица колеса
Камский автозавод 4308-C4 (2019) 4308-3103071-50 Болт 4308-3103010 Ступица колеса Чертеж  4308-3103010 Ступица колеса
Камский автозавод 4308-C4 (2019) 4308-3103071-50 Болт 4308-3103010-03 Ступица колеса Чертеж  4308-3103010-03 Ступица колеса
Камский автозавод 4308-C4 (2019) 4308-3103071-50 Болт 4308-3103010-04 Ступица колеса Чертеж  4308-3103010-04 Ступица колеса
Камский автозавод 4308-А3 (2019) 4308-3103071-50 Болт 4308-3103010 Ступица колеса Чертеж  4308-3103010 Ступица колеса
Камский автозавод 4308-R4 (2019) 4308-3103071-50 Болт 4308-3103010 Ступица колеса Чертеж  4308-3103010 Ступица колеса
Камский автозавод 4308-R4 (2019) 4308-3103071-50 Болт 4308-3103010-03 Ступица колеса Чертеж  4308-3103010-03 Ступица колеса
Камский автозавод 4308-R4 (2019) 4308-3103071-50 Болт 4308-3103010-04 Ступица колеса Чертеж  4308-3103010-04 Ступица колеса
Камский автозавод 4308-H3 (2019) 4308-3103071-50 Болт 4308-3103010 Ступица колеса Чертеж  4308-3103010 Ступица колеса
Товары из этой категории
Прижим заднего колеса 5320-3101045
Прижим заднего колеса
Каталожный номер 5320-3101045
Производитель КММЗ КММЗ
Код 11365
Доставка по всей Беларуси
Доступность остатки на филиалах Остатки на филиалах
Остаток: г.Минск, ул.Селицкого 21к В наличии
Склад Адрес Контакт Остатки
г. Минск ул. Селицкого, 21к +375 (44) 770-80-78 ( Много )
Схема проезда
г. Бобруйск ул. Орловского, 22к3 +375 (29) 345-37-07 ( Средне )
Схема проезда
г. Дрогичин ул. Юбилейная, 42 +375 (29) 682-17-13 ( Средне )
Схема проезда
г. Слоним ул. Советская, 93а +375 (29) 394-82-01 ( Средне )
Схема проезда
Манжета задней ступицы 864129
Манжета задней ступицы
Каталожный номер 864129
Производитель Чайковский Чайковский
Код 16470
Доставка по всей Беларуси
Доступность остатки на филиалах Остатки на филиалах
Остаток: г.Минск, ул.Селицкого 21к В наличии
Склад Адрес Контакт Остатки
г. Минск ул. Селицкого, 21к +375 (44) 770-80-78 ( Средне )
Схема проезда
г. Бобруйск ул. Орловского, 22к3 +375 (29) 345-37-07 ( Мало )
Схема проезда
г. Дрогичин ул. Юбилейная, 42 +375 (29) 682-17-13 ( Мало )
Схема проезда
г. Жлобин ул. Козлова, 25 +375 (29) 346-06-78 ( Средне )
Схема проезда
г. Кричев ул. Комсомольская, 126 +375 (29) 628-88-42 ( Средне )
Схема проезда
г. Щучин ул. Советская, 39 +375 (29) 177-29-70 ( Средне )
Схема проезда
Болт заднего колеса 53205-3104071
Болт заднего колеса
Каталожный номер 53205-3104071
Производитель RSTA RSTA
Код 16916
Доставка по всей Беларуси
Доступность остатки на филиалах Остатки на филиалах
Остаток В наличии
Склад Адрес Контакт Остатки
г. Бобруйск ул. Орловского, 22к3 +375 (29) 345-37-07 ( Много )
Схема проезда
г. Дятлово ул. Советская ,104 +375 (29) 187-87-37 ( Много )
Схема проезда
г. Ошмяны ул. Льнозоводская 3 +375 (44) 770-80-91 ( Много )
Схема проезда
Шланг подвода воздуха 4310-3125050
Шланг подвода воздуха
Каталожный номер 4310-3125050
Производитель ГарантАвто ГарантАвто
Код 49000
Доставка по всей Беларуси
Доступность остатки на филиалах Остатки на филиалах
Остаток: г.Минск, ул.Селицкого 21к В наличии
Склад Адрес Контакт Остатки
г. Минск ул. Селицкого, 21к +375 (44) 770-80-78 ( Много )
Схема проезда
Диск колеса 5320-3101012
Диск колеса
Каталожный номер 5320-3101012
Производитель RSTA RSTA
Код 12851
Доставка по всей Беларуси
Доступность остатки на филиалах Остатки на филиалах
Остаток: г.Минск, ул.Селицкого 21к В наличии
Склад Адрес Контакт Остатки
г. Минск ул. Селицкого, 21к +375 (44) 770-80-78 ( Средне )
Схема проезда