Республика Беларусь,
г. Минск, ул. Селицкого 21к - центральный склад
Пн-пт с 8:00 до 17:00
Меню
533602-1104617 Трубка отводящая от форсунок МАЗ ОАО
Наименование: Трубка отводящая от форсунок МАЗ ОАО
Каталожный номер: 533602-1104617
Код товара: 5336021104617
Доставка: по всей Беларуси
Остаток: под заказ 1-45 дней

Нашли не точность в описании товара? сообщить администратору.

+375 (44) 770-80-78 +375 (29) 747-80-78
* Выставить счет, получить техническую информацию и стоимость
Заказать деталь Онлайн
Описание
Наличие на филиалах
Применяемость
Заменить на СТО

533602-1104617 Трубка отводящая от форсунок.

  • Производитель: МАЗ ОАО
  • Каталожный номер по заводу: 533602-1104617
  • Код для заказа:  5336021104617
Марка Модель Кат.номер Наим. по каталогу Чертеж
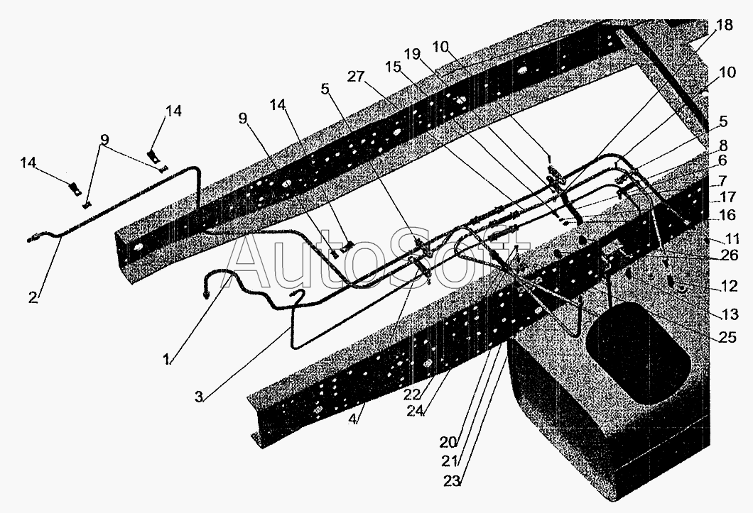
МАЗ МАЗ-5336 (2005) 533602-1104617 Трубка, отводящая от форсунок Установка топливопроводов МАЗ-533602, МАЗ-533603, МАЗ-533605, МАЗ-630305 (с подогревателем)
МАЗ МАЗ-5336 (2005) 53362-1104617 Трубка, отводящая от форсунок Установка топливопроводов МАЗ-533602, МАЗ-533603, МАЗ-533605, МАЗ-630305 (с подогревателем)
МАЗ МАЗ-5336 (2005) 533602-1104617 Трубка, отводящая от форсунок Установка топливопроводов МАЗ-533602, МАЗ-533603, МАЗ-533605, МАЗ-630305 (без подогревателя)
МАЗ МАЗ-5336 (2005) 53362-1104617 Трубка, отводящая от форсунок Установка топливопроводов МАЗ-533602, МАЗ-533603, МАЗ-533605, МАЗ-630305 (без подогревателя)
МАЗ МАЗ-5336 (2005) 533602-1104617-0110 Трубка отводящая от форсунок Установка топливопроводов МАЗ-630305, МАЗ-533602, МАЗ-533603 (с подогревателем)
МАЗ МАЗ-5336 (2005) 631705-1104617-020 Трубка отводящая от форсунок Установка топливопроводов МАЗ-630305, МАЗ-533602, МАЗ-533603 (с подогревателем)
МАЗ МАЗ-5336 (2005) 533602-1104617-010 Трубка отводящая от форсунок Установка топливопроводов МАЗ-630305, МАЗ-533602, МАЗ-533603 (без подогревателя)
МАЗ МАЗ-5336 (2005) 631705-1104617-020 Трубка отводящая от форсунок Установка топливопроводов МАЗ-630305, МАЗ-533602, МАЗ-533603 (без подогревателя)
МАЗ МАЗ-6303 (2005) (2005) 53362-1104617 Трубка, отводящая от форсунок Установка топливопроводов МАЗ-533602, МАЗ-533603, МАЗ-533605, МАЗ-630305 (с подогревателем) Чертеж Установка топливопроводов МАЗ-533602, МАЗ-533603, МАЗ-533605, МАЗ-630305 (с подогревателем)
МАЗ МАЗ-6303 (2005) (2005) 533602-1104617 Трубка, отводящая от форсунок Установка топливопроводов МАЗ-533602, МАЗ-533603, МАЗ-533605, МАЗ-630305 (с подогревателем) Чертеж Установка топливопроводов МАЗ-533602, МАЗ-533603, МАЗ-533605, МАЗ-630305 (с подогревателем)
МАЗ МАЗ-6303 (2005) (2005) 53362-1104617 Трубка, отводящая от форсунок Установка топливопроводов МАЗ-533602, МАЗ-533603, МАЗ-533605, МАЗ-630305 (без подогревателя) Чертеж Установка топливопроводов МАЗ-533602, МАЗ-533603, МАЗ-533605, МАЗ-630305 (без подогревателя)
МАЗ МАЗ-6303 (2005) (2005) 533602-1104617 Трубка, отводящая от форсунок Установка топливопроводов МАЗ-533602, МАЗ-533603, МАЗ-533605, МАЗ-630305 (без подогревателя) Чертеж Установка топливопроводов МАЗ-533602, МАЗ-533603, МАЗ-533605, МАЗ-630305 (без подогревателя)
МАЗ МАЗ-6303 (2005) (2005) 533602-1104617-010 Трубка отводящая от форсунок Установка топливопроводов МАЗ-630305, МАЗ-533602, МАЗ-533603 (с подогревателем) Чертеж Установка топливопроводов МАЗ-630305, МАЗ-533602, МАЗ-533603 (с подогревателем)
МАЗ МАЗ-6303 (2005) (2005) 631705-1104617-020 Трубка отводящая от форсунок Установка топливопроводов МАЗ-630305, МАЗ-533602, МАЗ-533603 (с подогревателем) Чертеж Установка топливопроводов МАЗ-630305, МАЗ-533602, МАЗ-533603 (с подогревателем)
МАЗ МАЗ-6303 (2005) (2005) 533602-1104617-010 Трубка отводящая от форсунок Установка топливопроводов МАЗ-630305, МАЗ-533602, МАЗ-533603 (без подогревателя) Чертеж Установка топливопроводов МАЗ-630305, МАЗ-533602, МАЗ-533603 (без подогревателя)
МАЗ МАЗ-6303 (2005) (2005) 631705-1104617-020 Трубка отводящая от форсунок Установка топливопроводов МАЗ-630305, МАЗ-533602, МАЗ-533603 (без подогревателя) Чертеж Установка топливопроводов МАЗ-630305, МАЗ-533602, МАЗ-533603 (без подогревателя)
МАЗ МАЗ-5337 (2005) (2005) 53362-1104617 Трубка, отводящая от форсунок Установка топливопроводов МАЗ-533602, МАЗ-533603, МАЗ-533605, МАЗ-630305 (с подогревателем) Чертеж Установка топливопроводов МАЗ-533602, МАЗ-533603, МАЗ-533605, МАЗ-630305 (с подогревателем)
МАЗ МАЗ-5337 (2005) (2005) 533602-1104617 Трубка, отводящая от форсунок Установка топливопроводов МАЗ-533602, МАЗ-533603, МАЗ-533605, МАЗ-630305 (с подогревателем) Чертеж Установка топливопроводов МАЗ-533602, МАЗ-533603, МАЗ-533605, МАЗ-630305 (с подогревателем)
МАЗ МАЗ-5337 (2005) (2005) 53362-1104617 Трубка, отводящая от форсунок Установка топливопроводов МАЗ-533602, МАЗ-533603, МАЗ-533605, МАЗ-630305 (без подогревателя)
МАЗ МАЗ-5337 (2005) (2005) 533602-1104617 Трубка, отводящая от форсунок Установка топливопроводов МАЗ-533602, МАЗ-533603, МАЗ-533605, МАЗ-630305 (без подогревателя)
Товары из этой категории
Датчик указ. темп. жидк. ДУТЖ-03  Экран,Борисов АДЮИ.453842.001
Датчик указ. темп. жидк. ДУТЖ-03 Экран,Борисов
Каталожный номер АДЮИ.453842.001
Производитель
Код АДЮИ453842001
Доставка по всей Беларуси
Остаток Под заказ
Рычаг люка сб.  МАЗ ОАО 5336-5713490
Рычаг люка сб. МАЗ ОАО
Каталожный номер 5336-5713490
Производитель
Код 53365713490
Доставка по всей Беларуси
Остаток Под заказ
Панель передка, ОЗАА,Осиповичи 103465-5326100-20
Панель передка, ОЗАА,Осиповичи
Каталожный номер 103465-5326100-20
Производитель
Код 103465532610020
Доставка по всей Беларуси
Остаток Под заказ
Оперение в сборе  ОЗАА,Осиповичи 6312-8400011-000
Оперение в сборе ОЗАА,Осиповичи
Каталожный номер 6312-8400011-000
Производитель
Код 63128400011000
Доставка по всей Беларуси
Остаток Под заказ
Тройник  МАЗ ОАО 403112
Тройник МАЗ ОАО
Каталожный номер 403112
Производитель
Код 403112
Доставка по всей Беларуси
Остаток Под заказ